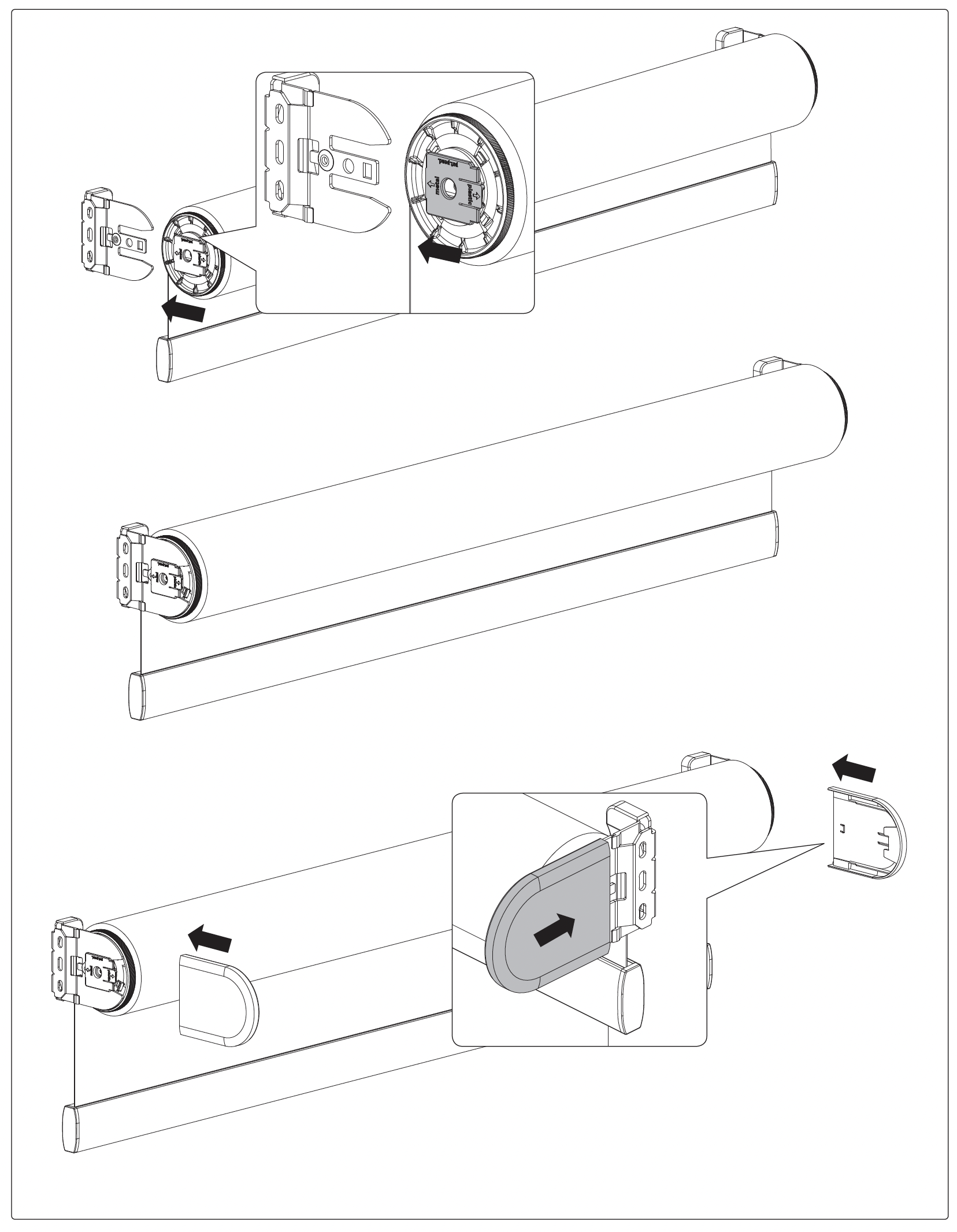
Cordless Open Roll Installation
Read the instructions carefully before assembling and using the product. Assembling process can be completed by non-professionals. For indoor use only.




Was this article helpful?
That’s Great!
Thank you for your feedback
Sorry! We couldn't be helpful
Thank you for your feedback
Feedback sent
We appreciate your effort and will try to fix the article